
El dispositivo, llamado tentativamente Apple Ring, reconocería comandos de voz, tendría pantalla touch y una cámara integrada
El nuevo dispositivo de Apple sería mucho más pequeño que el Apple Watch.
De acuerdo a un reporte del fabricante del Apple Watch, la compañía de Cupertino estaría trabajando en el Apple Ring, que como su nombre lo dice sería un anillo inteligente, con las mismas funciones del reloj.

La Oficina de Patentes y Marcas Registradas de Estados Unidos informó el jueves que Apple patentó el dispositivo que sería un anillo capaz de comunicarse con otros gadgets y tendría una batería recargable integrada.
Además, vendría con un micrófono para los comandos de voz de Siri, así como dos motores de retroalimentación con varias notificaciones.
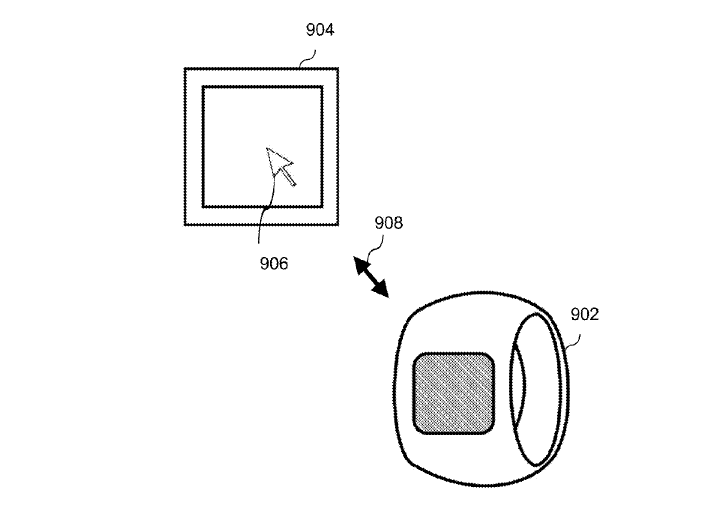
El anillo propuesto por Apple podría controlar el cursor de una computadora, una cámara o el sistema de enfriamiento o de entretenimiento de un vehículo.

También sería capaz de leer las huellas digitales y tendría una pantalla touch, así como una cámara integrada.
La patente fue solicitada el pasado 1 de abril del 2015, pero revelada por la oficina el pasado jueves 8 de octubre.
Con información de International Business Times